ВКРН-Ф ДУ
2300- 125000 м3/час
18000 - 68000 м3/час
РАБОЧЕЕ КОЛЕСО С НАЗАД ЗАГНУТЫМИ ЛОПАТКАМИ
СВАРНАЯ СТАНИНА С ПОКРЫТИЕМ ПОРОШКОВОЙ КРАСКОЙ
КОЛПАК ИЗ ОЦИНКОВАННОЙ СТАЛИ
”ФАКЕЛЬНЫЙ ВЫБРОС” УДАЛЯЕМОГО ДЫМА
НИЗКИЙ УРОВЕНЬ ЭНЕРГОПОТРЕБЛЕНИЯ
Комплектация двухскоростными асинхронными двигателями (при заказе).
Возможность плотной установки нескольких вентиляторов на кровле.
Полная защита от атмосферных осадков. Не требуется обратный клапан.
Максимальная приземистость конструкции.
Исключительная аэродинамическая нагруженность рабочих колес исполнения Б.
Вентиляторы обозначаются по приведенному ниже ключу:
ВКРН– АФ-3,15 ДУ – 4
ВКРН - тип вентилятора (Вентилятор Крышный Радиальный с Назад загнутыми лопатками рабочего колеса);
А - код исполнения колеса вентилятора (А, Б или В);
Ф - факельный выброс;
3,15 - диаметр рабочего колеса в дм (номер вентилятора);
ДУ - назначение (дымоудаление);
4 - число полюсов двигателя.
Технические характеристики:
|
№ |
Тип вентилятора |
Тип электродвигателя |
Частота, n, мин-1 |
Мощность, Nу, кВт |
|
|
1 |
ВКРН-АФ-3,15ДУ-4 |
АИР56В4 |
1450 |
0,18 |
|
|
2 |
ВКРН-АФ-3,55ДУ-4 |
АИР63В4 |
1450 |
0,37 |
|
|
3 |
ВКРН-АФ-4ДУ-4 |
АИР71А4 |
1450 |
0,55 |
|
|
4 |
ВКРН-АФ-4,5ДУ-4 |
АИР80А4 |
1450 |
1,1 |
|
|
5 |
ВКРН- АФ -5ДУ-4 |
АИР80В4 |
1450 |
1,5 |
|
|
6 |
ВКРН- АФ -5,6ДУ-4 |
АИР100S4 |
1450 |
3 |
|
|
7 |
ВКРН- АФ -6,3ДУ-6 |
АИР90L6 |
950 |
1,5 |
|
|
8 |
ВКРН- АФ -6,3ДУ-4 |
АИР112М4 |
1450 |
5,5 |
|
|
9 |
ВКРН- АФ -7,1ДУ-6 |
АИР112МА6 |
950 |
3 |
|
|
10 |
ВКРН- АФ -7,1ДУ-4 |
АИР132М4 |
1450 |
11 |
|
|
11 |
ВКРН- АФ -8ДУ-6 |
АИР132S6 |
950 |
5,5 |
|
|
12 |
ВКРН- АФ -8ДУ-4 |
АИР160S4 |
1450 |
15 |
|
|
13 |
ВКРН- АФ -9ДУ-8 |
АИР132S8 |
730 |
4 |
|
|
14 |
ВКРН- АФ -9ДУ-6 |
АИР160S6 |
950 |
11 |
|
|
15 |
ВКРН-АФ-9ДУ-4 |
АИР180М4 |
1450 |
30 |
|
|
16 |
ВКРН- АФ -10ДУ-8 |
АИР132М8 |
730 |
5,5 |
|
|
17 |
ВКРН- АФ -10ДУ-6 |
АИР160М6 |
950 |
15 |
|
|
18 |
ВКРН- АФ -11,2ДУ-8 |
АИР160М8 |
730 |
11 |
|
|
19 |
ВКРН- АФ -11,2ДУ-6 |
АИР200L6 |
950 |
30 |
|
|
20 |
ВКРН- АФ-12,5ДУ-12 |
АИР160М12 |
485 |
5,5 |
|
|
21 |
ВКРН- АФ -12,5ДУ-8 |
АИР200М8 |
730 |
18,5 |
|
|
22 |
ВКРН-АФ-12,5ДУ-6 |
АИР250S6 |
960 |
45 |
|
|
23 |
ВКРН- АФ -14ДУ-12 |
АИР180МВ12 |
475 |
9 |
|
|
24 |
ВКРН- АФ -14ДУ-8 |
АИР250S8 |
730 |
37 |
|
|
№ |
Тип вентилятора |
Тип электродвигателя |
Частота, n, мин-1 |
Мощность, Nу, кВт |
|
|
1 |
ВКРН-БФ-3,15ДУ-4 |
АИР63А4 |
1450 |
0,25 |
|
|
2 |
ВКРН-БФ-3,55ДУ-4 |
АИР71А4 |
1450 |
0,55 |
|
|
3 |
ВКРН-БФ-4ДУ-4 |
АИР71В4 |
1450 |
0,75 |
|
|
4 |
ВКРН-БФ-4,5ДУ-4 |
АИР80В4 |
1450 |
1,5 |
|
|
5 |
ВКРН- БФ -5ДУ-4 |
АИР90L4 |
1450 |
2,2 |
|
|
6 |
ВКРН- БФ -5,6ДУ-4 |
АИР100L4 |
1450 |
4 |
|
|
7 |
ВКРН- БФ -6,3ДУ-6 |
АИР100L6 |
950 |
2,2 |
|
|
8 |
ВКРН- БФ -6,3ДУ-4 |
АИР132S4 |
1450 |
7,5 |
|
|
9 |
ВКРН- БФ -7,1ДУ-6 |
АИР112МВ6 |
950 |
4 |
|
|
10 |
ВКРН- БФ -7,1ДУ-4 |
АИР160S4 |
1450 |
15 |
|
|
11 |
ВКРН- БФ -8ДУ-6 |
АИР132М6 |
950 |
7,5 |
|
|
12 |
ВКРН- БФ -8ДУ-4 |
АИР180S4 |
1450 |
22 |
|
|
13 |
ВКРН- БФ -9ДУ-8 |
АИР132М8 |
730 |
5,5 |
|
|
14 |
ВКРН- БФ -9ДУ-6 |
АИР160S6 |
950 |
11 |
|
|
15 |
ВКРН- БФ -10ДУ-8 |
АИР160S8 |
730 |
7,5 |
|
|
16 |
ВКРН- БФ -10ДУ-6 |
АИР180М6 |
950 |
18,5 |
|
|
17 |
ВКРН- БФ -11,2ДУ-8 |
АИР180М8 |
730 |
15 |
|
|
18 |
ВКРН- БФ -11,2ДУ-6 |
АИР225М6 |
950 |
37 |
|
|
19 |
ВКРН- БФ-12,5ДУ-12 |
А180МВ12 |
485 |
9 |
|
|
20 |
ВКРН- БФ -12,5ДУ-8 |
АИР225М8 |
730 |
30 |
|
|
21 |
ВКРН- БФ -14ДУ-12 |
А200LА12 |
475 |
13 |
|
|
22 |
ВКРН- БФ -14ДУ-8 |
АИР250М8 |
730 |
45 |
|
|
№ |
Тип вентилятора |
Тип электродвигателя |
Частота, n, мин-1 |
Мощность, Nу, кВт |
|
|
1 |
ВКРН- ВП/ВД -7,1ДУ-4 |
АИР132S4 |
1450 |
7,5 |
|
|
2 |
ВКРН- ВП/ВД -8ДУ-4 |
АИР132М4 |
1450 |
11 |
|
|
3 |
ВКРН- ВП/ВД -11,2ДУ-6 |
АИР180М6 |
950 |
18,5 |
|
|
4 |
ВКРН- ВП/ВД-12,5ДУ-6 |
АИР200L6 |
960 |
30 |
|
|
№
|
Тип вентилятора
|
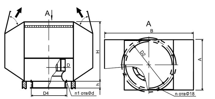
Размеры, мм |
Масса, кг
|
|||||||||
|
А |
В |
D |
D2 |
D4 |
Н |
h |
d |
n |
n1 |
|||
|
1 |
ВКРН-АФ/БФ-3,15ДУ-4 |
470 |
610/700 |
315 |
470 |
345 |
500/532 |
100
|
7
|
4 |
4 |
42,4/46 |
|
2 |
ВКРН- АФ/БФ -3,55ДУ-4 |
560 |
685/785 |
355 |
585 |
385 |
595/635 |
100 |
7 |
4 |
4 |
50/54 |
|
3 |
ВКРН- АФ/БФ -4ДУ-4 |
560 |
786/880 |
400 |
585 |
430 |
590/630 |
130 |
7 |
4 |
4 |
70,2/73 |
|
4 |
ВКРН- АФ/БФ -4,5ДУ-4 |
650 |
860/985 |
450 |
665 |
480 |
655/700 |
130 |
7 |
4 |
5 |
86/98 |
|
5 |
ВКРН- АФ/БФ -5ДУ-4 |
755 |
950/1090 |
500 |
772 |
530 |
695/745 |
140 |
7 |
8 |
5 |
135,3/150 |
|
6 |
ВКРН- АФ/БФ -5,6ДУ-4 |
755 |
1060/1220 |
560 |
772 |
590 |
825/880 |
130 |
10 |
8 |
6 |
170,2/192 |
|
7 |
ВКРН- АФ/БФ -6,3ДУ-6 |
765 |
1190/1365 |
630 |
772 |
660 |
840/935 |
200 |
10 |
8 |
6 |
174/197 |
|
8 |
ВКРН- АФ/БФ -6,3ДУ-4 |
765 |
1190/1365 |
630 |
772 |
660 |
840/935 |
200 |
10 |
8 |
6 |
202/236 |
|
9 |
ВКРН- АФ/БФ -7,1ДУ-6 |
870 |
1335/1535 |
710 |
772 |
660 |
1115/1185 |
160 |
10 |
8 |
6 |
248/278 |
|
10 |
ВКРН- АФ/БФ -7,1ДУ-4 |
870 |
1335/1535/1335 |
710 |
772 |
660 |
1115/1185/1115 |
160 |
10 |
8 |
6 |
286/360/271 |
|
11 |
ВКРН- АФ/БФ -8ДУ-6 |
1080 |
1500/1725 |
800 |
1072 |
830 |
1185/1265 |
197 |
10 |
8 |
6 |
360/375 |
|
12 |
ВКРН- АФ/БФ -8ДУ-4 |
1080 |
1500/1725/1500 |
800 |
1072 |
830 |
1185/1265/1185 |
197 |
10 |
8 |
6 |
437/447/390 |
